本电源的作用是将输入的一48v直流电压.变换成稳定的土5V直流电压输出,输出电压在土5V时,电流为2.5A,电压在-5V时,电流为o.3A。
(点击查看大图)
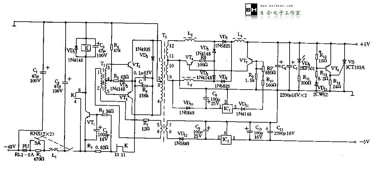
1.工作原理
电路如所示,它由输入电路、DC-AC变换电路、输出电路、控制电路及保护电路等组成,分别说明如下:
(1)输入电路:电路由开关SA、电阻R1、电容C1、C2及电感L1组成。C1、C2及L1构成输入
波电路,滤除供电电源的纹波及串入的干扰,同时亦抑制本电源的干扰串入输入端去干扰其它电路。R1为限流电阻,当接上供电电源后,电源立刻通过R1向C1、C2充电,R1限制了向C1、C2的充电电流,经短暂时间后再合上SA,便把R1短接,使供电电源向本电源正常供电,有效地避免了浪涌电流对本电源的危害。
(2)DC-AC变换电路;电路由变压器T1、T2、三极管VT2、VT3等组成主振器(自激振荡器),把供电电源供给的直流电转换为频率约为40kHz的方波交流电。由T2的初次级线圈的变比关系,使T2各次级获得输出要求的方波电压。本电路由VT2、VT3构成推挽式工作方式,这样.可使用最大的功率而仅有较小的耗损。R4、R5、VD2等构成启动电路,以保证电路顺利地正常启动。VD3、VD4、C5、R6等构成功率吸收网络,以减少开关损耗、保证VT2、VT3的安全。R7反馈电阻,使T1初级获得适当的反馈电流。本电路工作频率随输出负载轻重而变化,能在输入电压为-48v时正常工作。
(3)输出电路:输出电路是本电源向负载供出稳定的士5V电压的电路。方波电压经VD7、VD8整流、再由L4、C6、C7构成的滤波网络滤波后,便获取+5V输出。方波经VD12整流、C9平滑滤波后送至三端稳压器IC2稳压后输出-5V。+5V输出端接有发绿光的发光二极管VD9作为工作指示。
(4)控制电路:本电路控制主输出+5V,使其获得稳定。电路由磁放大器L2、L2,三极管VT,、VT5,二极管VD5、VD6,电阻R8、R8、R10、电位器RP等组成。当T2的12端为正半周时,VD7导通,L2被磁化输出电流;当T2的12端为负半周时,VD7截止。VT5通过VT4和VD5给L2磁化,去磁电流大小,受VT5的控制。当Uo↑,VT5的Ic↑,通过VT4、VD5去磁电流增大,即L2的去磁电流↑;下一正半周就需较大的磁化电流,使VD7的导通时间延迟,从而使Uo↓。当Uo↓时,情况相反。此路和L3、VD6那一路轮流工作,共同完成电流输出任务。VD11具有温度补偿作用,使控制电路吏稳定的工作。VT5的基准电压由T2的9端引出方被电压,经VD10整流、C8平滑滤波后,由IC1三端稳压端输出的+8V电压上取得。在正常情况下,如果输出的稳定电压达不到+5V,可适当调整RP即可满足。
(5)保护电路:保护电路有两个目的:a.保护本电源的元件,特别是VT2、VT3不受损坏;b.保护用电器(负载)的元件不被破坏。本电路为过流保护和输出过压保护。
①过流保护:由继电器K,三极瞥VT1、过流检测电阻R3等组成。当因某种情况,如辅出端短路使VT2、VT3的射极电流大到某值,R3两端电压上升到使VT1导通,K吸合,断开VT2、VT3的射极回路,从而使其停止工作,获得保护。同时K自保,故障排除后,必须将SA断开后闭合,电路才能重新工作。其中,VD1为保护二极管。电容C3用于消除继电器吸合与释放时可能产生的抖动现象。
②输出过压保护:电路由稳压二极管VD13三极管VT6,单向晶间管VS,电阻R12、R13、R14等组成。当输出电压≥5.5V时,VEB6≥0.6V,则VT6导通,从而触发品间管VS导通,使输出电流I。↑↑,这样将导致过流保护电路启动,停止振荡器工作,使输出电压释至零,从而起到保护载的作用。待故障排除后,按过流保护的操作程序,重新启动电路。
2.无器件选择
集成电路IC1:MC7808CT,IC2:MC7905CT。三极管VT1:3DK404B、β=65~85,VT2、VT3:BU406、β=25~65,VT4:3DK4B、β=65~85,VT5、VT6:3CG23B、β=85~115。继电器K:
RZZG48V。
3.安装与使用
(1)大功率管.BU406必须外加散热器。散热器与功率管的贴面光洁度要在▽6以上,并且贴合紧密,中间员好填充硅脂,以减少接能热阻。散热器的面积随输出电流而异。
(2)发光二极管VDl3和电位器RP及保险管FU应安装在装置的外表面处,以便于显示调节及更换方便。
(3)正常的供电电源电压在-48土4.8V范围内,纹波电压小于240mV,否则不能开机。
(4)更换保险管与原则指标规格相同,严禁以大代小,或用钢丝代替。
(5)如想得到告警信号,可利用继电器K的另一组触点,去控制讯响器的开关即可。
(6)确认供电电源极性、数值、纹波符合要求的条件下可开机,置电源开关于“开”位置,电源指示灯亮。
(7)若有条件还可安装土5V监测选择开关和直流电压表,便于选择和直观指示电压。







